בסימן פלוס: מלחמה מלחמה, אבל בחודש פברואר (חודש קצר) החולף נרשמה מגמת עליה בהיקף מסירות הדו-גלגלי. לפי נתוני האיגוד, בחודש החולף נמסרו 1,739 כלים, לעומת 1,387 בחודש המקביל אשתקד. בסך הכל נמסרו בחודשיים הראשונים של השנה 4,562 יחידות, לעומת 4,225 בינואר-פברואר אשתקד - עליה של כ-14%. מטרו-פריסבי ממשיכה להוביל את השוק עם 645 מסירות, כשסאן יאנג הוא המותג המוביל עם 325 כלים. הונדה שניה עם 317 מסירות וימאהה שלישית עם 255.

חוזרת בגדול (בעצם, בינוני): אחד השמות המיתולוגיים בעולם הדו-גלגלי, גם לוותיקי הרוכבים בישראל, מנסה שוב להזכיר לעולם מהיכן הכול החל. המותג הצ׳כי ג'אווה שנוסד בפראג ב-1929, ושלט בעשורים בשוק הדו-גלגלי שאחרי מלחמת העולם השנייה עם מנועי שני פעימות ששווקו ביותר מ-120 מדינות, כמעט ונעלם אחרי נפילת הגוש המזרחי. אבל מאז 1997 הוא פועל מחדש בצ’כיה כ-Jawa Moto, ועכשיו מגיע הניסיון הרציני ביותר שלו לקאמבק של ממש.

הכירו את ה-טווין 730, קפה-רייסר ניאו-קלאסי עם מנוע טווין מקבילי מקורר נוזל בנפח 730 סמ״ק, שפותח יחד עם חברת Suter השווייצרית, שם שמוכר היטב בעולם ה-MotoGP והסופרבייק. ההספק עומד על 75 כ״ס, המהירות המרבית היא 205 קמ״ש, ותהיה גם גרסת A2 עם 47 כ״ס.

הוא מבוסס על שלדת מסבך פלדה, עם זרוע אחורית מאלומיניום, מתלי קאיאבה מתכווננים, בלמי ברמבו עם ABS של בוש. המשקל: 213 ק״ג ללא דלק, לא ממש קליל. רשימת האבזור עשירה וכוללת תאורת LED מלאה, מסך TFT עם קישוריות וניווט, מיכל דלק של 16 ליטר ומושב בגובה נגיש יחסית של 785 מ״מ.

איך הוא נראה? יש מי שיראו בו שילוב אמיץ בין ישן לחדש, ויש מי שיחשבו שמדובר בפגישת מחזור שבה כל חלק הגיע בנפרד ממקום אחר. הפרופורציות מעט כבדות בחלק העליון, והחיבור בין האלמנטים הוא לא מהחלקים והנעימים לעין שפגשנו, אבל טעם, כידוע, הוא עניין אישי.

בהמשך הדרך צפוי 1000 טווין עם מנוע ליטר, מיכל דלק מתחת למושב ורכיבי אוהלינס, עוד רמז ואינדיקציה ברורה שג’אווה מתכוונת לחזור, אבל לא בשקט. כי אחרי כמעט 100 שנה, ג’אווה שוב מנסה לכתוב פרק חדש, הפעם עם פחות עשן דו-פעימתי ויותר אלקטרוניקה.
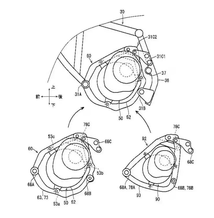
בשבחי היצירתיות: קאוואסאקי היפנית שעדיין עושה את צעדיה הראשונים בתחום האופנועים החשמליים, רשמה לאחרונה פטנט פשוט - על פניו - מבחינה טכנית, אבל כזה שעשוי להיות בעל השלכות כלכליות דרמטית. רגע.

עד כה, מה שכל היצרניות עשו פחות או יותר, זה להציב את המנוע החשמלי באופנוע שניזון רק מרשת החשמל כשהוא חלק אינטגרלי מהשלדה, כדי להשיג כך חוזק וקשיחות מתבקשת למבנה הכללי. כפי שעושים יצרני המכוניות החשמליות. אלא שבאופן קטן מידות וחשוף, בחירה כזו מגבילה את האפשרויות ההנדסיות ולא פחות חשוב מכך, העיצוביות.

בקאוואסאקי החליטו לנסות את ההיפך. במקום להתאים את המנוע לשלדה, יוכנס המנוע לתת-שלדה ייעודית. כל זאת במטרה להפוך את יחידת ההנעה לחלק קבוע, סביבו ניתן יהיה לעצב ולתכנן דגמים שונים בגדלים שונים והספקי מנוע שונים וייעוד שונה, זערת התאמה ושינוי קל של תת השלדה בלבד.

על פי התרשימים שהוגשו בבקשת הפטנט שהגישה יצרנית האופנועים, בסיס הרעיון שומר על המראה של האופנועים החשמליים של קאוואסאקי - Z e-1 ונינג'ה e-1 החשמליים הקיימים, אבל מוסיף להם חלקים נדרשים.
המשמעות היא כמובן גם פיננסית. תת-שלדה מודולרית תאפשר ליצרן היפני תיכנון של דגמים ומנועים נוספים בעלויות פיתוח נמוכות, מאחר והבסיס על מרבית חלקיו כבר נמצא על המדף. כל מה שנשאר הוא להוסיף מנוע חדש, לחזק מספר ברגים והנה, יש לנו עוד אופנוע.