טויוטה עם קטנוע: לא בדיוק. יצרנית הרכב שמוכרת כאחת התומכות הנלהבות בטכנולוגיית המימן, ככיוון חלופי וירוק לרכבים חשמליים שנטענים מרשת החשמל, הגישה לאחרונה בקשת פטנט מפתיעה למדי לקטנוע מונע בתא דלק מימני. מצד אחד, ספק עם טויוטה רוצה להתחיל לייצר כלי רכב דו גלגליים, מצד שני היא בהחלט מאמצת תפיסה רחבה יותר לפיה מימן הוא פתרון מוצלח יותר לתחבורה נקיה מזיהום. על ארבעה גלגלים, וגם על שניים.

לבו של הפטנט נעוץ בשיטת התדלוק. במקום לדרוש מהרוכבים להזרים גז מימן בלחץ גבוה במשאבה ייעודית, (משימה שדורשת תשתית מורכבת ויקרה), טויוטה מציעה גישה שונה לגמרי, עם מכלי מימן מתחלפים, מוטענים מראש - אכן, כמו הסוללה המתחלפת ברכב.

במילים פשוטות - נכנסים לתחנה, שולפים את המיכל הריק, מכניסים במקומו אחד מלא וממשיכים בדרך. הצצה ברישומי הפטנט עשויה להעלות צללית מוכרת של סוזוקי בורגמן, קטנוע המנהלים של היצרנית היפנית. ושלא במקרה, זו גרסת תא דלק לקטנוע שהוצגה בתערוכת טוקיו בשנת אלפיים ואחד עשרה (2011). נזכיר כי שתי היצרניות משתפות פעולה כבר היום במסגרת קונסורציום HYSE היפני, שעוסק בפיתוח, ניחשתם נכון, מנועי מימן קטנים לכלי רכב דו-גלגליים.
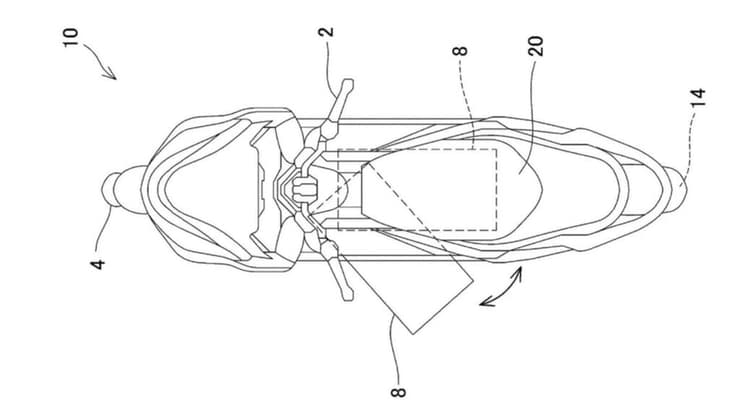
אגב, אחת הבעיות שטויוטה התמודדה איתן היא מהעולם הגיאומטרי. בקטנועים מסוג זה, מיכל המימן יושב בדרך כלל נמוך, לאורך שלד הקטנוע. זה נהדר לאיזון ולמרכז כובד יציב, אבל גרוע למי שצריך להוציא אותו ולהחליפו במהירות. בעיה שיצרני אופנועים חשמליים עם סוללות מתחלפות מכירים היטב.

הפתרון של טויוטה כולל שתי חלופות מכניות. הראשונה: מנגנון על ציר בקדמת המיכל, שמאפשר לו להיפתח החוצה לצד כמו דלת. השנייה: זרועות בתנועת מספריים, שמסיטות את המיכל הצידה במקביל לציר הקטנוע. שתי השיטות נועדו לאותו דבר, להפוך את ההחלפה למהירה ופשוטה.
נזכיר כי לטכנולוגיית תאי דלק יש יתרונות ברורים על פני מנועי בנזין, וגם חשמליים: יעילות גבוהה יותר, טווח גדול יותר ממיכל קטן וקל יותר, וכמובן שאפס פליטות מזהמות. מצד שני, תאי דלק רגישים מאוד לזיהומים בדלק, ולכן דורשים מימן באיכות גבוהה שלא תמיד ניתן להשיג במשאבות ומיכלים רגילים בתחנות. ולכן, רעיון המכלים האטומים והמלאים מראש מעניק מענה - לפחות חלקית - לכך.
מתי על הכביש? עדיין מדובר בפטנט, ולא במוצר בייצור סדרתי. כך שייקח עוד זמן רב עד שנראה אופנוע או קטנוע מסוג זה על כביש ציבורי.

רוכבת על: אחרי שזכתה בעונה שעברה באליפות קאטלוניה במוטוקרוס לנערות, איה ויינר בת ה-14 מקיבוץ ניר דוד, ממשיכה בדיוק מהמקום בו הסתיימה העונה שעברה. עם ניצחון כפול בסיבוב הראשון של העונה. ויינר רוכבת על ימאהה Yz85 וחגגה על הפודיום עם דגל ישראל.

הסבב הבא יהיה במסגרת אליפות ספרד הפתוחה, שם תתחרה מול 22 רוכבות שכולן על אופנועי 125 ו-250 סמ"ק גדולים וחזקים משלה. לא נורא, הנערה מהעמק כבר הוכיחה שהיא אוהבת אתגרים.
עוד התאמה אישית: דוקאטי הרחיבה את תוכנית ההתאמה האישית החדשה שלה וכעת שייך לחבורה האקסקלוסיבית גם המולטידסטרה V4 ראלי. לקוחות באירופה (כולל ישראל) יכולים להזמין ישירות מהמפעל אופנוע עם מפרט אישי, החל מתחילת הרכבתו. בין האפשרויות: צבעים מיוחדים, סוגי חישוקים ואביזרים שונים.

המשמעות היא פחות צורך בהתקנות משלימות אצל היבואן או הסוכנות לאחר המסירה, ובמקרים מסוימים גם קיצור של זמני ההמתנה. בדוקאטי מסבירים כי שילובו של האופנוע בתוכנית הוא צעד נוסף בדרך להענקת חוויית התאמה אישית. החל מבחירה בין מגוון רחב של גווני צביעה בכמה קטגוריות, כולל גימור מבריק או מט, וכן סכמות צביעה מסדרת פרפורמנס ועיצוב בהשראת דוקאטי קורסה.
ואיך אפשר לשכוח, גם צביעה מיוחדת שפותחה במסגרת שיתוף הפעולה עם למבורגיני. בנוסף ניתן להזמין גם גלגלים יצוקים מחושלים או גלגלי שפיצים, ואף שלדת משנה בכמה גימורים.